軟管撓曲測試要求|軟管撓曲測試標準
瀏覽:次 2021-09-28 13:40:31
軟管撓曲測試要求|軟管撓曲測試標準
6.3.3.2 試樣預處理
試樣預處理如下:
a) 按表8規定的軟管自由長度準備撓曲疲勞試樣;
b) 封堵試樣接頭,按5.3.12進行接頭耐腐蝕性試驗;
c) 完成接頭耐腐蝕性試驗後的試樣在168 h以內(nei) ,按6.3.8完成耐熱性試驗;
d) 完成耐熱性試驗後的試樣在室溫下冷卻2 h,應在166 h以內(nei) 完成撓曲疲勞試驗。

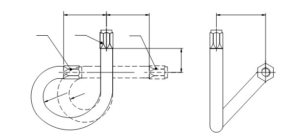
說明:
1——樣件移動端極左位置;
2——固定端;
3——樣件移動端極右位置。
圖7 軟管屈撓疲勞試驗裝置示意圖
6.3.3.3 試驗程序
試驗程序如下:
a) 將預處理後試樣的“固定端”固定在撓曲疲勞試樣台上,並連接好氣壓源,試樣的“移動端”連接在撓曲疲勞試樣台可移動的工裝上並封堵。軟管總成安裝時按其自然彎曲進行連接,不應出現任何外力下的扭曲,軟管總成空間安裝位置尺寸見表8;
b) 調整設備輸出氣壓,提供1.0 MPa壓力至節流孔。開始對試樣氣壓循環設定:加壓從(cong) 0 MPa升至1.0 MPa保持60 s±5 s,泄壓從(cong) 1.0 MPa降至0 MPa保持60 s±5 s;
c) 啟動撓曲循環部分,試樣的“移動端”從(cong) 如圖7所示極左位置水平移至極右位置,再從(cong) 極右位置水平移至極左位置,“移動端”一個(ge) 往複記為(wei) 一次,累計進行100萬(wan) 次軟管疲勞試驗。“移動端”往複位移為(wei) 150 mm±3 mm,試驗頻率為(wei) 1.7 Hz±0.1 Hz;
d) 試驗結束後,對軟管總成施加壓力為(wei) 1.0 MPa±0.07 MPa氣壓,保持120 s±10 s,觀察軟管總成試樣是否泄漏。
相關(guan) 連接:
隨著材料行業(ye) 的不斷發展,後期對該設備的要求也會(hui) 不斷提高。疲勞試驗機是一種很普遍的設備廣泛的應用在材料行業(ye) 中。之所以受到了行業(ye) 的認可和青睞,甚至成為(wei) 不可或缺的設備,就是因為(wei) 它自身存在很多優(you) 勢。既然疲勞試驗機有很多的優(you) 勢,那麽(me) 你對疲勞試驗機設備有哪些特點哪些部件需要保養(yang) 了解嗎?
本公司生產(chan) 銷售的拉力機、拉力試驗機、萬(wan) 能材料試驗機、拉力計、剝離力試驗機等儀(yi) 器儀(yi) 表性價(jia) 比高,質量過關(guan) ,產(chan) 品能耗低,備受用戶的信任和支持。它的性能係統—力值傳(chuan) 感器和驅動傳(chuan) 感器是拉力機的核心所在。 拉力機的力值傳(chuan) 感器,因為(wei) 傳(chuan) 用戶感器的好壞決(jue) 定了試驗機的精度和測力穩定性。下麵技術人員帶大家了解一下拉力機傳(chuan) 感器的不同以及易損部件是哪些?一起來看看吧:
拉力試驗機主要適用於(yu) 金屬及非金屬材料的測試,如橡膠、塑料、電線電纜、光纖光纜、安全帶、保險帶、皮革皮帶複合材料、塑料型材、防水卷材、鋼管、銅材、型材、彈簧鋼、軸承鋼、不鏽鋼(以及其它高硬度鋼)、鑄件、鋼板、鋼帶、有色金屬金屬線材的拉伸、壓縮、彎曲、剪切、剝離、撕裂、兩(liang) 點延伸(需另配引伸計)等多種試驗。那麽(me) 下麵讓技術人員帶領我們(men) 去了解下:拉力試驗機的測試方法和使用須知有哪些?
18luck新利体育旗舰厅(濟南)科技生產(chan) 的0-75Mpa 汽車新能源氫氣管路氣密性試驗機主要是針對於(yu) :汽車氫氣管路,加氫軟管,充氫氣管,氫氣硬管,加氫槍以及氫氣充裝專(zhuan) 用的TN1氫氣快速接口等領域。氣密性試驗機內(nei) 置18luck新利体育旗舰厅增壓泵,采用計算機控製,能夠完成汽車氫氣管路的高壓保壓測試,輸出壓力曲線和測試報告,完成對氫氣管路的氣密性檢測。。
本文介紹了如何選擇高壓油管氣密封試驗機,包括壓力的選擇,試驗箱體(ti) 的選擇,水箱的處理,以及氣密封試驗機的控製方式等進行了設備的描述與(yu) 參數介紹
氣瓶壓爆水壓測試台(氣瓶水壓爆破試驗機)主要是依據國標GBT 15385-2011 氣瓶壓爆試驗方法,GB 8334-2011 液化石油氣鋼瓶定期檢驗與(yu) 評定的要求研發的筒體(ti) 水壓多用實驗台。